New DJI Inspire 3 Leaks Include Patent Design Images, Making April Launch Look Likely
BY Zacc Dukowitz
8 March 2023Recent leaks on Twitter claim to show design images of the DJI Inspire 3 from a patent application the company recently made in China.

The Inspire 3 is arguably the most anticipated DJI launch of 2023, and really of the last several years.
The last model in the Inspire series—the Inspire 2—came out way back in 2016, the same year the FAA released the Part 107 rules.
[Related read: What Will DJI Release in 2023? The Inspire 3 Is on the List—See All the DJI Predictions Drone Industry Insiders Are Making for 2023]
In fact, it’s been so long since the Inspire 2 came out that many were starting to speculate that DJI planned to ax the series altogether—until a bevy of leaked images started hitting the internet last year.
To put that in perspective, that was also the year SkyPixel had its first ever annual aerial photo and video contest, which was held to celebrate DJI’s 10th anniversary and SkyPixel’s 2nd anniversary. And, of course, that contest is still happening—winners were just announced for the SkyPixel 8th Annual Aerial Photo & Video Contest.
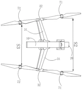
Leaked Patent Design Images for the Inspire 3
Design images for the DJI Inspire 3 were recently found in a patent application with the China National Intellectual Property Administration by Twitter user KANZHAJI.
Here they are:



One of the most noteworthy things about these images is that they seem to further confirm the fact that DJI is working on an Inspire 3—and that its launch may be coming soon.
Regarding the launch, the rumors currently circulating in the drone industry say it could come as early as next month. According to industry insiders, beta versions of the Inspire 3 have already been sent out for testing, with one spotted recently in Macau.
Inspire 3 may have been sent to KOLs for beta tests. pic.twitter.com/dFQAPzWPya
— OsitaLV (@OsitaLV) February 12, 2023
*Note: KOL stands for Key Opinion Leader
A Brief History of DJI Inspire 3 Leaks
For a while it seemed like DJI was planning to let the Inspire series die out—until the leaks of 2022 began. In fact, there were so many Inspire 3 leaks in 2022 that general opinion seemed to shift overnight from “It will never come out” to “When is it coming out?”
Here’s a brief overview of all the leaks we saw last year for the Inspire 3.
April, 2022—Crash photos
Leaked crash photos of an early Inspire 3 model hit Twitter.
Never crash an unannounced prototype or it will become a breaking news if someone else pick it up.
Yeah, it’s Inspire 3! pic.twitter.com/wjCAisZOW0— OsitaLV (@OsitaLV) April 11, 2022
June, 2022—Two models
Leaked photos of what looks like two models of the Inspire 3 came out, driving speculation that there might be two versions, similar to the Mavic 3 and the Mavic 3 Cine.
Inspire 3 ready to take off. pic.twitter.com/ddoVFUW3B2
— OsitaLV (@OsitaLV) June 18, 2022
August, 2022—Inspire 3 in flight
A leaked photo is shared on Twitter claiming to show an Inspire 3 in flight.
It’s flying! pic.twitter.com/by8ySYwDRP
— OsitaLV (@OsitaLV) July 28, 2022
September, 2022—Secret video
A video that was “secretly” recorded purports to show people test flying the Inspire 3.
DJI Inspire 3 testing pic.twitter.com/E9Oo4du0CN
— 航拍世家 打手 (@DealsDrone) September 19, 2022
And now, six months after the last leak, we have another leak showing design images from the Inspire 3’s patent application.
Whether it’s coming out in April or not, all of these leaks seem to add up to a compelling case that the DJI Inspire 3 will come out in 2023.
DJI Inspire 3 Specs—Everything We Know So Far
Though we haven’t yet gotten a leak of pictures showing the actual specs, there have been plenty of credible leaks regarding what we might expect to see with the Inspire 3.
Here are all the specs that are anticipated:
- Camera 1. 8K at 75fps, 6K at 100fps, 4K at 200fps. Rumors indicate that the Inspire 3 will be compatible with the Zenmuse X9, which shoots in 8K—most likely as an upgrade.
- Camera 2. It looks like the Inspire 3 will also come with a single-axis FPV camera that will be larger and of much higher quality than the one that comes with the Inspire 2.
- Flight time. 35 minutes (about 5-7 minutes longer than the flight time of the Inspire 2).
- Transmission. Longer range with less latency supported by DJI’s OcuSync video transmission. A new version of OcuSync may come out with the Inspire 3, further extending transmission range and reducing latency.
- Remote control. Rumors have it that the Inspire 3 has been seen flying with the DJI RC Plus remote, which would make sense given that it’s the newest and best remote DJI has out right now.
- Weight. Rumors also have it that the Inspire 3 will be lighter than the Inspire 2 to help extend the drone’s battery life, though we haven’t heard exactly how much just yet.
Other features we might see with the Inspire 3:
- Omni-directional obstacle avoidance
- CineCore 3.1
- Somatosensory gimbal control
- Portable video receiver for director
- Stepless iris adjustment