Here’s Everything We Know about DJI’s Forthcoming FPV Drone
BY Zacc Dukowitz
11 February 2021DJI’s products never seem to launch without a leak or two.
These leaks are inevitable. The company is so big that it has to let retailers and press contacts know ahead of time before a major release in order to support advance stocking and sales, as well as product reviews and press coverage.
Sometimes it even seems like DJI is the one behind these leaks, doling out bits of information in order to get people talking about its newest product.
But lately these leaks have gone from a few pieces of information here and there to full-on lists of specs and details about the product. (The most extreme example is the YouTuber who bought DJI’s Mini 2 at Best Buy ahead of its official release due to a shelving error, then went viral sharing every detail there was to know about it.)
And DJI’s forthcoming FPV drone is an example of this new normal for DJI leaks.
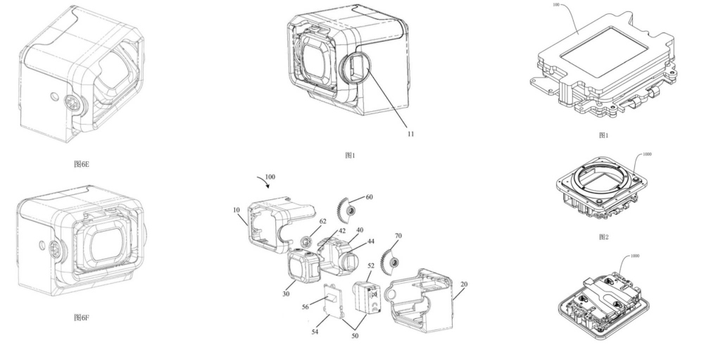
We first started hearing about it last summer, when the company filed a patent for a camera that looked like it might be designed for a racing drone.
Since then, more and more details have emerged—here’s everything we know so far about DJI’s FPV drone.
What It Looks Like and What It’s Called
A recent Tweet from DJI insider @OsitaLV shows what seems to be a promotional image for the company’s upcoming FPV drone:
FPV ready to launch. pic.twitter.com/Fp4PK0ILZY
— OsitaLV (@OsitaLV) February 8, 2021
In the image, we see not only the drone but the other components of an FPV bundle—a new controller and new goggles.
And here’s another image that leaked in December:

Regarding the name of the new drone, rumors have been circulating for the last year that it will be called the DJI Flash.
These rumors have been confirmed by another tipster on Twitter, who recently shared that DJI is getting ready to release several FPV accessories using the Flash name, including a Flash Gimbal Camera, Flash Goggles Battery, and a Flash Propeller Guard.
And in our own research, we found that Amazon is already starting to market DJI’s new FPV goggles using the Flash moniker:
And here is what the new goggles look like:

Photo credit: DJI
A Remote Controlled Camera
One of the earliest stories that leaked about DJI’s FPV drone was that it would have a remote-controlled camera.
This story broke due to a patent the company filed with the Chinese National Intellectual Property Administration (CNIPA) for a new camera module.

Image source: DJI
Two things stand out in the patent that made people speculate that it might be a camera for an FPV drone:
- The camera is enclosed in a case, which means it could be designed to sustain impacts, as you might expect for an FPV drone
- The camera’s design uses a servo and gear system to tilt, which could be useful for flying FPV, and which could also be controlled remotely
The speculation that this patent indicated that DJI was working on an FPV drone, which started in June of last year, seemed to be confirmed by the Tweet shown below from @OsitaLV in November. (Note that they write the drone has a “remote-adjustable camera.”)
5.8GHz & 915MHz ready, I think this is it. Rumor says some resellers have got the evaluation model of FPV Drone, with remote-adjustable FPV camera. https://t.co/yVUKS96q99
— OsitaLV (@OsitaLV) November 19, 2020
New Revolutionary Controller Design
Maybe the most exciting thing that has leaked so far about DJI’s FPV drone is about the controller.
According to recent rumors spurred by a DJI filing with the FCC, it looks like the FPV’s remote control might rely on new technology that uses the motion of a person’s hand—or possibly even their body—to control the drone.
This means that instead of using sticks to control the drone, the drone would be controlled by how the remote control is moving through space—so if you turn your hand to the right, the drone will turn to the right, and so on.
This kind of control is called somatosensory control, because the drone is literally controlled by the movement of the operator’s body. (Soma = body in Greek, thus, for example, psychosomatic = an ailment of the body—the soma—caused or aggravated by the mind—the psyche.)
The design of this kind of remote control would be radically different from the typical remote control for a drone, probably looking more like the throttle for an airplane or like a standalone joystick.
The speculation that DJI is working on this technology is confirmed both by the FCC filing we already mentioned and by a patent we found that DJI has filed for a “Somatosensory remote controller.”
However, despite the speculation that this new controller will be available with DJI’s forthcoming FPV drone, the reality could be that this technology is still a long ways off—when you look at the controller in the leaked image above, it doesn’t look like it has a brand new design.
But a drone pilot can dream, can’t they?
Everything Else We Know
Here are a few other bits of information that have leaked about DJI’s new FPV drone:
- It may not be for racing, but for fast-paced aerial cinematography
- It will probably have an auto-land feature
- It will probably be a gateway drone for FPV flying—that is, it will lower the barrier for entry to learning how to fly FPV both in terms of skills, cost, and engineering know-how (a lot of FPV systems are still built, not bought Ready to Fly)
[Related reading: The Top 5 FPV Racing Drones: Ready-to-Fly Models for Drone Racing]
So When Can I Buy DJI’s New FPV Drone?
The drone industry rumor mill seems to agree that DJI’s FPV drone will officially be released on March 2.
However, given that the cat is thoroughly out of the bag, DJI may push up the launch—either way, we wouldn’t be surprised to see it launched before another month has passed.
Excited for DJI’s FPV drone to finally launch? Share your thoughts in this thread on the UAV Coach community forum.
